摘要
从广东省市场监管局获悉,因通过登记的住所或经营场所无法联系到深圳纪元国际认证有限公司,市场监管部门于2023年10月13日将其列入经营异常名录。目前市场监管部门正在对其进行监督检查。深圳XX国际认证有限公司,社会信用代码:91440300MA5HT6NJXX,2023年4月11日成立,2023年8月11日获得认证机构资质,批准号:CNCA-R-2023-1322。
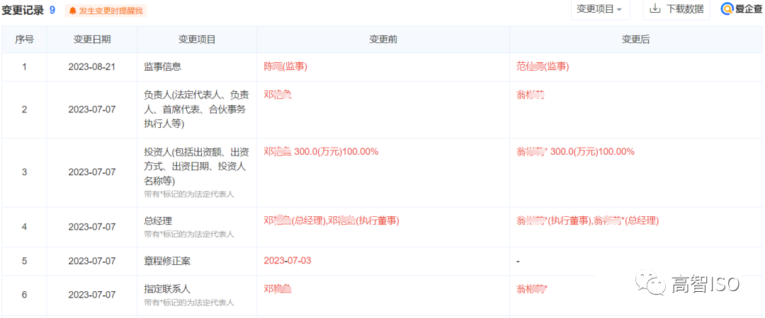
1、机构基本信息 2、2023年8月11日获得认证机构资质,批准号:CNCA-R-2023-1322。 3、于2023年10月13日将其列入经营异常名录。 4、管理层人员变更频繁。
手机
联系电话
微信扫一扫

微信扫一扫
